ich habe in den letzten Tagen und Wochen nochmal einiges neu verkabelt - war teilweise zu unübersichtlich.
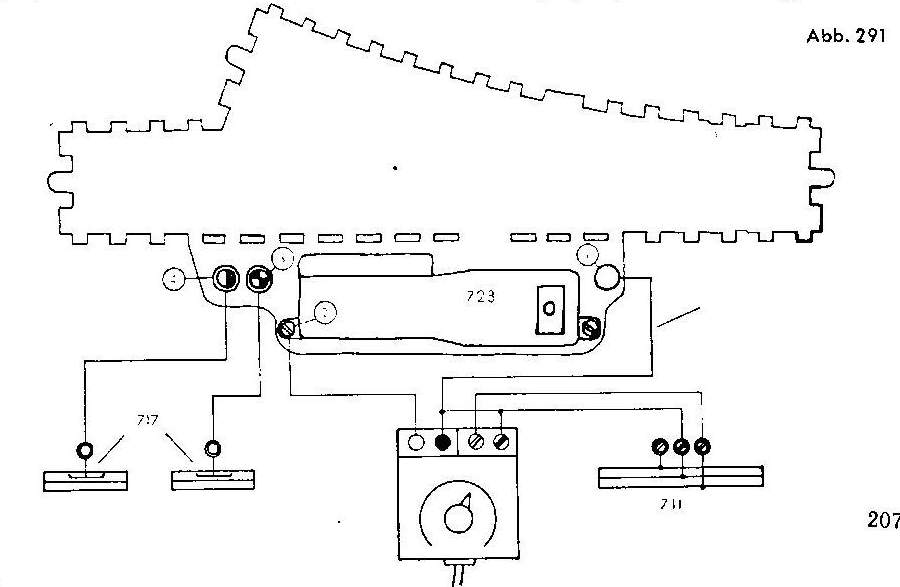
Dabei stellen mich die Weichenanschlüsse teilweise vor ein Rätsel. Ich habe nämlich drei unterschiedliche Weichenmodelle verbaut.
Bei den älteren Weichen möchte ich die Weichen-Laternen separat mit den Beleuchtungen der Häuser anschalten.
Diese Weichenmodelle sind im Einsatz:
1. die neuen Kunststoff-Weichen mit 3 Anschlüssen
2. alte Pappschwellen-Weichen mit 4 Anschlüssen + Laterne
3. alte Pappschwellen-Weichen mit 3 Anschlüssen + Laterne
Bei der neuen Weiche komme ich klar: Weiß ist Masse, Gelb+Grün sind die Schaltkontakte.
Bei Modell 2 ist offensichtlich der schwarze Anschluss Masse und nicht der weiße - oder ?
Und bei Modell 3 brauche ich nur Grün+Gelb anschließen, damit ich die Weiche stellen kann. Der Masseanschluss fehlt offensichtlich.
Beim Anschluss der Weichenlaternen am separaten Beleuchtungstrafo klappt es irgendwie nicht. Mal leuchtet diese Laterne, mal jene .... die eine hell, die andere schwach.
Ich habe weder hier im Forum noch bei Google ein Anschlussschema gefunden.
Roland


